| 
 
 G11W内螺纹隔膜阀 
产品名称:内螺纹隔膜阀 
产品特点:设计与制造:BS5156 结构长度:BS5156 法兰连接尺寸:BS4504、DIN2532、JIS B2212、ANSI B16.1、ISO2004 EG11W内螺纹隔膜阀 
  
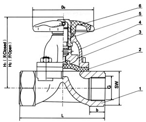
部件列表:1.阀体 2.隔膜 3.阀瓣 4.阀杆 5.阀盖 6、手轮 
二、内螺纹隔膜阀用途: 
内螺纹隔膜阀专用于控制一般腐蚀性介质,可供各类管路或设备上作启闭及节流用。 适用温度:≤120℃、≤150℃(按照隔膜材料) 压力等级:PN(MPa) 0.6 1.0 1.6  
三、内螺纹隔膜阀材料: 
阀体:铸铁、球墨铸铁、碳钢、不锈钢  阀盖:铸铁、球墨铸铁、碳钢、不锈钢  隔膜:橡胶  阀瓣:铸铁、不锈钢  阀杆:碳钢、不锈钢 手轮:铸铁 
四、内螺纹隔膜阀测试: 
衬里层:电火花检测  试验与检验按BS6755标准  公称压力:PN(MPa) 阀体:PN×1.5 密封:PN×1.1  
五、内螺纹隔膜阀主要尺寸参数: 
| 
 公称通径   | 
 公称压力  MPa  | 
 工作压力  MPa  | 
 L mm  | 
 SW mm  | 
 b mm  | 
 H1 mm  | 
 H2 mm  | 
 D0 mm  | 
 质量  Kg/kilos  |  
| 
 DN  | 
 G   |  
| 
 8  | 
 1/4  | 
 1.6  | 
 1.6  | 
 50  | 
 20  | 
 -  | 
 60  | 
 66  | 
 45  | 
 0.6  |  
| 
 10  | 
 3/8  | 
 50  | 
 24  | 
 -  | 
- | 
- | 
 45  | 
 0.7  |  
| 
 15  | 
 1/2  | 
 65  | 
 38  | 
 8  | 
 84  | 
 92  | 
 50  | 
 0.8  |  
| 
 20  | 
 3/4  | 
 85  | 
 40  | 
 12  | 
 93  | 
 103  | 
 50  | 
 1.1  |  
| 
 25  | 
 1  | 
 110  | 
 48  | 
 18  | 
 106  | 
 120  | 
 66  | 
 1.9  |  
| 
 32  | 
 1 1/4  | 
 120  | 
 58  | 
 18  | 
 137  | 
 156  | 
 96  | 
 3.3  |  
| 
 40  | 
 1 1/2  | 
 140  | 
 69  | 
 18  | 
 142  | 
 163  | 
 96  | 
 4.2  |  
| 
 50  | 
 2  | 
 165  | 
 85  | 
 20  | 
 167  | 
 192  | 
 96  | 
 5.8  |  
| 
 65  | 
 2 1/2  | 
 1.0  | 
 203  | 
 60  | 
 20  | 
 190  | 
 225  | 
 165  | 
 9.5  |  
| 
 80  | 
 3  | 
 254  | 
 105  | 
 32  | 
 206  | 
 246  | 
 230  | 
 16.2  |     |